
Questo articolo aiuta a scoprire le fonti delle EMI (in particolare le emissioni irradiate) e presenta alcune tecniche per ridurre al minimo le EMI per una catena di segnali analogici, inclusi esempi di layout dettagliati e i risultati delle misurazioni.
Introduzione
L’enorme volume di dispositivi elettronici in uso oggi, unito alla costante riduzione delle dimensioni di questi dispositivi, rende l’interferenza elettromagnetica (EMI) un grave problema per i progettisti di circuiti con i circuiti utilizzati per le comunicazioni, i calcoli e l’automazione che operano spesso uno accanto all’altro [1].
Inoltre, tutti i prodotti devono essere conformi alle normative governative sulla compatibilità elettromagnetica (EMC). Ogni paese regolamenta la compatibilità elettromagnetica dei prodotti elettronici commercializzati o venduti all’interno dei propri confini in maniera autonoma. Negli Stati Uniti, la Federal Communications Commission (FCC) regola tutte le fonti [2] commerciali (non militari) di radiazioni elettromagnetiche e definisce le procedure di test EMI irradiate e condotte nel rispetto di specifiche norme come lo Standard C63.4 [3] dell’American National Standards Institute (ANSI).
I paesi dell’Unione Europea (UE) regolamentano sia le emissioni elettromagnetiche che l’immunità dei dispositivi elettronici; la Direttiva sulla Compatibilità Elettromagnetica [4] afferma sostanzialmente che le apparecchiature devono essere conformi agli standard armonizzati sulla compatibilità elettromagnetica ed essere testate ed etichettate di conseguenza.
Esistono numerosi standard EMC relativi a vari tipi di apparecchiature. Ad esempio, gli standard 61000 della Commissione Elettrotecnica Internazionale (IEC) coprono i requisiti di immunità per la maggior parte dei prodotti commerciali, mentre lo standard 32 del Comité International Spécial des Perturbations Radioélectriques (CISPR) specifica i limiti sulle emissioni condotte e irradiate [5].
La tabella 1 elenca gli standard CISPR, Normativa Europea e FCC per il settore merceologico rilevante. Molti altri paesi al di fuori degli Stati Uniti e dell’UE specificano la conformità ai requisiti FCC o EMC dell’UE o hanno requisiti propri. Le normative nei paesi al di fuori degli Stati Uniti e dell’Europa spesso assomigliano ai requisiti FCC o UE.

La necessità di basse EMI diventa ancora più evidente se si considera un tipo specifico di apparecchiatura, ad esempio nelle misurazioni smart. I contatori elettrici intelligenti rappresentano una parte significativa del futuro della distribuzione dell’energia.
Forniscono dati in tempo reale sull’utilizzo sia ai gestori che agli utenti finali, aiutando le persone a monitorare il consumo di energia ed eliminando le visite per la lettura dei contatori. La maggior parte dei contatori intelligenti si collega tramite comunicazioni wireless [7], come Wireless M-Bus o ZigBee, oppure si collega alla rete di telefonia cellulare (GSM, LTE cat NB1-NB2, 2G/3G/5G). Come illustrato nella Figura 1, un contatore elettrico intelligente contiene un circuito trasmettitore a radiofrequenza (RF), solitamente nello stesso alloggiamento del circuito stampato di misurazione dell’energia (metrologia).
È importante ridurre al minimo le emissioni irradiate dal circuito metrologico per non disturbare la comunicazione RF, che può funzionare a frequenze come 800 MHz, 900 MHz, 1.800 MHz, 2.100 MHz o 2.700 MHz. Il circuito metrologico deve inoltre essere resistente in termini di suscettibilità elettromagnetica (la capacità di resistere all’energia elettromagnetica proveniente dalla comunicazione wireless) per evitare errori di fatturazione derivanti dall’iniezione di rumore RF nel sensibile front-end di misurazione dell’energia.
Questo articolo aiuta a scoprire le fonti delle EMI (in particolare le emissioni irradiate) e presenta alcune tecniche per ridurre al minimo le EMI per una catena di segnali analogici, inclusi esempi di layout dettagliati e risultati della misurazione.

Sorgenti EMI ed emissioni irradiate
EMC è la capacità di un sistema elettrico di funzionare correttamente nell’ambiente previsto in presenza di sorgenti EMI e di non costituire una fonte di interferenza con tale ambiente elettromagnetico oltre i limiti specificati nello standard pertinente [1 ].
Le EMI possono essere irradiate o condotte. L’interferenza irradiata viaggia sotto forma di onde radio e viene anche chiamata interferenza RF. L’interferenza condotta proviene dal campo magnetico generato dal flusso di corrente nei cavi che trasportano segnali e alimentazione.
Il focus di questo articolo è ridurre al minimo le emissioni irradiate. Su un circuito stampato (PCB) o all’interno di un circuito integrato (IC) montato su quel PCB, alcune delle fonti primarie di emissioni irradiate includono:
- Segnali di commutazione come segnali di clock, con rapidi cambiamenti nei livelli di tensione durante le transizioni del segnale digitale. Ciò si verifica a causa delle componenti ad alta frequenza. I segnali di commutazione e clock sono essenziali per sincronizzare il funzionamento di vari componenti all’interno e tra i circuiti integrati.
- Regolatori di commutazione e altri componenti che causano rapidi cambiamenti nell’assorbimento di corrente attraverso le linee di alimentazione.
- Buffer di ingresso/uscita, in particolare quelli associati a interfacce ad alta velocità come USB, HDMI o Ethernet, a causa delle transizioni di segnale ad alta velocità che gestiscono.
- Armoniche create dal comportamento non lineare nei circuiti interni di circuiti integrati a frequenze superiori ai segnali fondamentali.
- Capacità parassita, induttanza e resistenza nelle interconnessioni e nelle strutture del circuito integrato.
- Eventi di scariche elettrostatiche (ESD) che attivano i circuiti di protezione ESD.
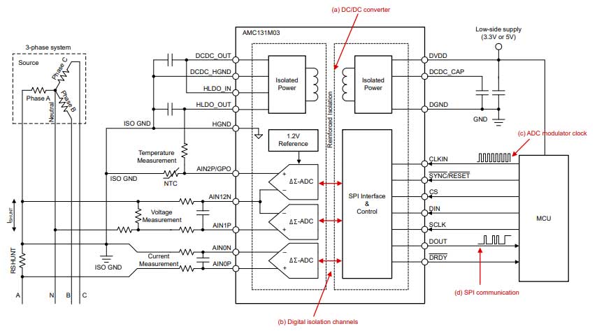
La Figura 2 illustra il convertitore analogico-digitale (ADC) galvanicamente isolato AMC131M03 di Texas Instruments [8] e le fonti predominanti di emissioni irradiate derivanti dalla sua architettura interna e dalle connessioni sul PCB. L’ADC viene utilizzato in un’applicazione di misurazione dell’energia trifase e la Figura 2 mostra il circuito per una fase (fase A). La catena del segnale è progettata per estrarre misurazioni di tensione e corrente per il monitoraggio energetico [8]. Il canale 0 dell’ADC misura la corrente di fase utilizzando un resistore di shunt e il canale 1 misura la tensione di fase attraverso un partitore resistivo [8].
Il contributore più rilevante alle emissioni è il convertitore DC/DC a commutazione interna (a nella Figura 1) che genera l’alimentazione isolata sul lato ad alta tensione [8]. La seconda fonte più importante di emissioni irradiate è l’isolamento digitale (b nella Figura 2), poiché è implementato utilizzando la trasmissione con chiave on/off ad alta frequenza attraverso una barriera di condensatori impilati [8], [9]. Inoltre, i segnali di clock emettono radiazioni in un ampio intervallo di frequenze, come il clock del modulatore ADC CLKIN (c nella Figura 2) e l’interfaccia di comunicazione digitale tra l’ADC e il microcontrollore (d nella Figura 2).

Tecniche per minimizzare le EMI
Diverse tecniche di progettazione PCB riducono al minimo le EMI, dettagliate anche nei riferimenti [1], [10], [11]:
- Messa a terra adeguata. Questo è uno dei modi più efficaci per ridurre le emissioni irradiate. Un’attenta messa a terra può evitare anelli di terra che possono fungere da antenna. L’utilizzo di un piano di massa può inoltre contribuire a ridurre le aree di loop e fornire un percorso di ritorno per i segnali, riducendo il potenziale di EMI. In altri casi, tuttavia, i piani di terra possono creare antenne su nodi sensibili e aumentare le emissioni irradiate (vedere l’esempio specifico mostrato nella Figura 5).
- Posizionamento dei componenti. Posizionare i componenti in modo da ridurre al minimo la lunghezza delle tracce del segnale, in particolare per i segnali ad alta velocità. Mantenere i componenti digitali e analogici separati per evitare interferenze.
- Percorso di traccia rettilineo e breve. Instradare le tracce ad alta velocità in linea retta e mantenerle quanto più corte possibile può ridurre al minimo il potenziale di EMI. Inoltre, fare attenzione a evitare di creare angoli retti nei percorsi di traccia, che possono causare riflessioni e perdite di segnale.
- Utilizzo di condensatori di disaccoppiamento. I condensatori di disaccoppiamento possono fornire un breve percorso di ritorno per il rumore ad alta frequenza verso terra. Posizionare i condensatori di disaccoppiamento il più vicino possibile ai pin di alimentazione dei circuiti integrati.
- Impedenza controllata. Il controllo dell’impedenza delle tracce del segnale corrisponderà all’impedenza della sorgente e del carico e può aiutare a prevenire riflessioni del segnale che possono portare a emissioni irradiate.
- Schermatura. A volte, l’utilizzo di schermi metallici o materiale schermante su determinate aree del PCB può prevenire le emissioni irradiate.
- Utilizzo dei filtri. I filtri possono bloccare determinate frequenze che causano emissioni irradiate e sono particolarmente utili nei circuiti di alimentazione.
- Impilamento degli strati. Nei PCB multistrato, fare attenzione a disporre gli strati in modo da ridurre al minimo le interferenze elettromagnetiche. In genere è buona pratica alternare gli strati di alimentazione e di terra, poiché ciò può aiutare a ridurre le aree del circuito e fornire un percorso di ritorno per i segnali. Gli strati di terra superiori e inferiori possono aiutare a fungere da campo schermante per gli strati di segnale interni come i circuiti di clock che generano emissioni irradiate.
- Evitare le armoniche dell’oscillatore di clock. I segnali di clock possono generare armoniche che possono interferire con altre parti del circuito. Le tecniche a spettro esteso possono aiutare a diffondere queste armoniche e a ridurne l’impatto.
- Simulazioni EMI. Gli strumenti di simulazione delle emissioni irradiate possono aiutare a prevedere e ridurre al minimo le EMI nella stessa fase di progettazione del PCB [12], [13].
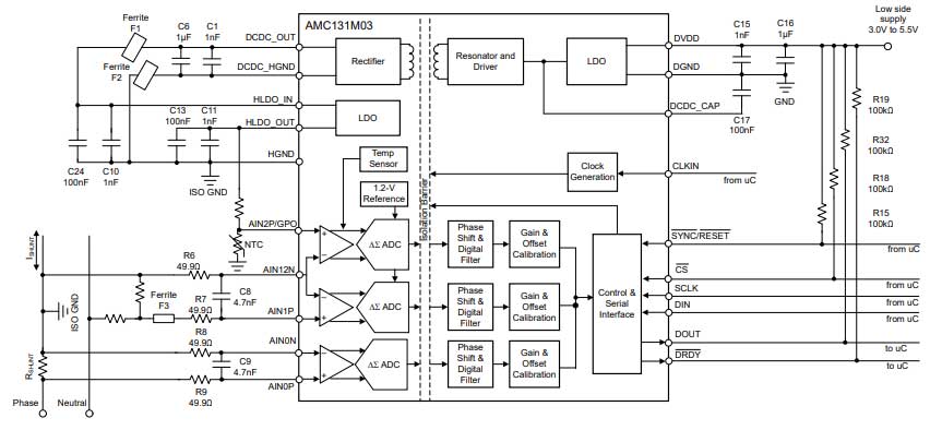
La Figura 3 è uno schema dettagliato della catena del segnale analogico introdotta nella Figura 2.

La Figura 4 e la Figura 5 illustrano l’applicazione delle tecniche di riduzione delle emissioni irradiate al layout PCB corrispondente per l’AMC131M03. La Figura 4 mostra un layout “buono”, mantenendo le tracce brevi per gli ingressi ADC e i percorsi di alimentazione nel dominio dell’alta tensione (area PCB a sinistra dell’AMC131M03) e posizionando i condensatori di bypass C1, C6, C8, C9, C11, C13 , C14 e C24 vicino all’IC. Un aspetto importante nella mitigazione delle EMI è lo schema di messa a terra del nodo di terra isolato ISO_GND.
Ridurre al minimo la lunghezza della traccia e non posizionare un piano di terra nel dominio dell’alta tensione riduce al minimo l’effetto antenna su questo nodo e quindi minimizza le emissioni irradiate [14]. Le sfere di ferrite F1 e F2 sono inserite nelle connessioni di alimentazione DCDC_OUT e DCDC_HGND per bloccare il rumore ad alta frequenza. È inoltre possibile posizionare un ulteriore cordone di ferrite (F3) ad alta impedenza alla frequenza di emissioni irradiate eccessive (che dipenderà dal design del PCB) in serie al partitore resistivo per la misurazione della tensione.

La Figura 5 illustra un layout “cattivo”, mostrando un piano di terra collegato al nodo ISO_GND, che funge da antenna e può aumentare significativamente le emissioni irradiate [14].

La Figura 6 e la Figura 7 mostrano la misurazione delle emissioni irradiate per il PCB AMC131M03 utilizzando l’implementazione del layout illustrata nella Figura 4. Le misurazioni seguono i requisiti CISPR 11 in una camera semianecoica utilizzando un’antenna a banda larga configurata per polarizzazioni orizzontali e verticali con una distanza di 3 m.
L’ADC riceve un clock continuo sul pin CLKIN e genera risultati di conversione. Tuttavia, non c’è comunicazione con l’interfaccia periferica seriale mentre il profilo di emissione è caratterizzato. Questo design soddisfa gli standard CISPR 11 Classe A e Classe B con 13 dB di margine, offrendo le prestazioni di emissioni irradiate più basse sul mercato per un ADC con isolamento rinforzato sia per i dati che per l’alimentazione.


Conclusione
Per garantire che i circuiti elettronici funzionino come previsto, devono essere protetti dalle interferenze elettromagnetiche. Allo stesso tempo, i circuiti stessi non devono irradiare emissioni che possano minacciare o degradare le prestazioni di altre apparecchiature. La conformità agli standard EMC richiede la protezione EMI a quattro livelli: livello del componente, livello della scheda, livello del sistema e livello del sistema generale [15].
Le tecniche qui presentate riducono al minimo le EMI a livello di progettazione PCB (scheda) e sono facilmente applicabili a un esempio pratico, una catena di segnali ADC di precisione migliore della categoria con isolamento rinforzato [16] utilizzata per la misurazione dell’elettricità. Con un’attenta progettazione, utilizzando le tecniche di riduzione EMI proposte, la progettazione raggiunge un margine sufficiente [17] per gli standard EMC pertinenti.
Riferimenti
- Ott, Henry W. 2009. “Electromagnetic Compatibility Engineering.” Hoboken, New Jersey: John Wiley & Sons.
- Part 15 – Radio Frequency Devices. FCC Title 47, Chapter I, Subchapter A. FCC: Washington, D.C., Jan. 11, 2024.
- American National Standard for Methods of Measurement of Radio-Noise Emissions from LowVoltage Electrical and Electronic Equipment in the Range of 9 kHz to 40 GHz. IEEE C63.4-2009. Piscataway, New Jersey, Sept. 15, 2009.
- Directive 2004/108/EC of the European Parliament and of the Council of 15 December 2004 on the Approximation of the Laws of the Member States Relating to Electromagnetic Compatibility and Repealing Directive 89/336/EEC. Official Journal of the European Union. Brussels, Belgium, Dec. 31, 2004.
- Texas Instruments: An Overview of Conducted EMI Specifications for Power Supplies.
- LearnEMC.com. n.d. EMC Regulations. Accessed Jan. 14, 2024.
- Envocore.com. n.d. How Do Smart Meters Communicate? Accessed Jan. 14, 2024.
- Texas Instruments. n.d. AMC131M03 three-channel, simultaneous-sampling 24-bit isolated delta-sigma ADC. Accessed Jan. 14, 2024.
- Texas Instruments: Addressing High-Voltage Challenges with Reliable and Affordable Isolation Technologies.
- Altium.com. n.d. PCB Design Techniques to Reduce EMI. Accessed Jan. 14, 2024.
- Analog Devices (Maxim Integrated). Practical Aspects of EMI Protection. Tutorial 1167, Aug. 21, 2002.
- Remcom. n.d. Electromagnetic Simulation Software. Accessed Jan. 14, 2024.
- Cadence. n.d. Clarity 3D Transient Solver. Accessed Jan. 14, 2024.
- Texas Instruments: Best Practices to Attenuate AMC3301 Family Radiated Emissions EMI.
- Electronic Design. n.d. Meet EMI Standards for Electronic Systems. Accessed Jan. 14, 2024.
- Texas Instruments: High-Voltage Reinforced Isolation: Definitions and Test Methodologies.
- Texas Instruments: Understanding Electromagnetic Compliance Tests in Digital Isolators.
Il Dr. Ralph Oberhuber è Product Line Manager presso Texas Instruments



